Описание пневмораспределителей с электромагнитным управлением У71-2*А
Кузнечнопрессовые машины оснащенные пневмораспределителями У71-2*А имеют двуручную или педальную систему управления. Наиболее часто У71-2*А можно встретить на кривошипных прессах: КД1426В, КД1428В, КД2126Е, КД2128Е, КД2328Е, КД2326Е, КД1426А, КД1428А, КД2124, КД2324, КД2126, КД2326, КД2128, КД2328, КД2130, КД2330, КД2126К, КД2128К, КД2328К, КД2326К.
Конструкция распределительного устройства: клапанного типа.
Пневматические распределители рассчитаны для работы на сжатом воздухе при давлении от 0,25 МПа до 1,0 МПа, очищенном не грубее 10 класса загрязненности по ГОСТ 17433-80, содержащем распыленное масло вязкостью от 10 до 35 мм°/с (сСт) при температуре 50°С, концентрацией из расчета 2…4 капли на 1 м³ воздуха, приведенного к условиям по ГОСТ 12449. Климатическое исполнение УХЛ и О, категория размещения 4 по ГОСТ 15150.
На пневмораспределителях У71-2*А устанавливается одна пластина-глушитель. Для повышения прочности и в целях сохранения целостности пластины-глушителя, поверх пластины-глушителя установлена металлическая защитная пластина. Защитная пластина вместе с пластиной-глушителем надёжно крепится к корпусу распределителя винтами.
Структура условного обозначения
|
1 |
2 |
3 |
4 |
5 |
|
У71-2 |
2А |
=24В |
УХЛ |
4 |
| 1 | Тип устройства |
У71-2 - пневмораспределитель трехлинейный сдвоенный
|
| 2 | Условный проход |
2А - 16 мм; 4А - 25 мм; 6А - 40 мм; |
| 3 | Номинальное напряжение |
Постоянный ток: 24В 110В Переменный ток: 24В 110В |
| 4 | Климатическое исполнение по ГОСТ 15150 |
УХЛ; О; |
| 5 | Категория размещения пневмораспределителя по ГОСТ 15150 | 4 |
Характеристики пневмораспределителей У71-2*А
|
Параметры |
Типоразмеры |
||
|
У71-22А |
У71-24А |
У71-26А |
|
|
Условный проход, мм |
16 |
25 |
40 |
|
Номинальное давление, МПа |
1,0 |
||
|
Минимальное рабочее давление, МПа, не более |
0.25 |
||
|
Остаточное давление воздуха на выходе при опоражнивании пневмомагистрали через одну секцию пневмораспределителя при давлении 0.63 МПа, МПа, не более |
0,02 |
||
|
Пропускная способность пневматической линии "вход" ("1") -"выход" ("2"), Kv*, м3/час, не менее |
8 |
12 |
22 |
|
Пропускная способность пневматической линии "выход" ("2") -"атмосфера" ("3"), Kv*, м3/час, не менее |
10,5 |
18,5 |
27,0 |
|
Время включения при давлении 0.63 МПа, с, не более |
0,06 |
||
|
Время выключения при давлении 0.63 МПа, с, не более |
0,08 |
||
|
Максимальное число срабатываний, мин-1 |
100 |
90 |
70 |
|
Род тока |
постоянный |
||
|
Напряжение, В |
24, 110 |
||
|
Масса пневмораспределителя, кг, не более |
8,5 |
8,5 |
14,5 |
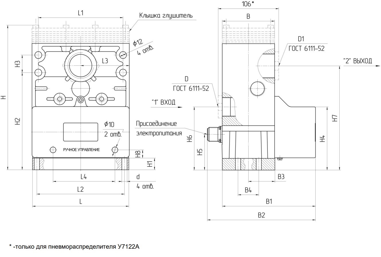
Габаритные и присоединительные размеры


|
Обозначение |
Размеры, мм |
||||||||||||||||||||
|
D |
D1 |
B |
B1 |
B2 |
B3 |
B4 |
H |
H1 |
H2 |
Н3 |
Н4 |
Н5 |
Н6 |
Н7 |
L |
L1 |
L2 |
L3 |
d |
d1 |
|
|
У7122А |
G1/2” |
G3/4” |
90 |
160 |
185 |
45 |
25 |
238 |
20 |
167 |
30 |
106 |
62 |
109 |
179 |
165 |
145 |
150 |
82,5 |
12 |
9 |
|
У7124А |
G1” |
G11/4” |
250 |
||||||||||||||||||
|
У7126А |
G11/2” |
G2” |
100 |
175 |
200 |
50 |
35 |
332 |
24 |
198 |
45 |
110 |
67 |
123 |
218 |
220 |
200 |
200 |
110,0 |
12 |
11 |
Устройство пневмораспределителей У71-2*А
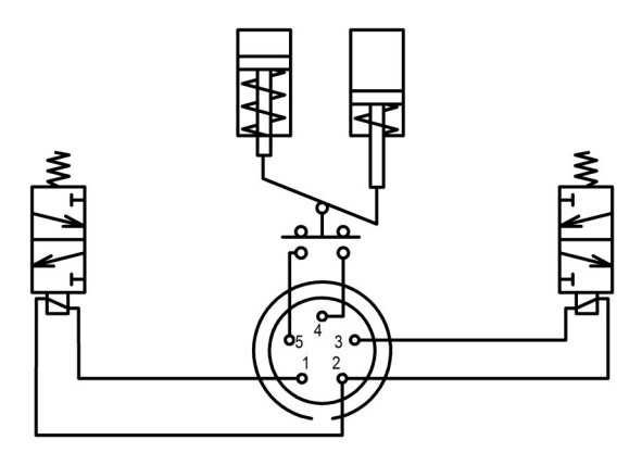
Конструктивно пневмораспределители У71-2 состоят из 2-х клапанных секций соединенных между собой. Управление работой каждой секции осуществляется трехлинейным распределителем с электромагнитным управлением (24 В или 110 В, ток постоянный). Для контроля неисправности каждой из трехлинейных секций к их полостям пневмоусилителей подключен сигнализатор - датчик давления. Электрическое управление каждой секцией осуществляется по самостоятельной цепи посредством разъема. Подключение распределителей У71-2*А к пневматической сети осуществляться пневматическими трубками или жесткими трубопроводами с сечением согласно условного прохода пневмораспределителя (16 мм, 25 мм или 40 мм).
Описание работы пневмораспределителя У71-2*А
При подаче электрического сигнала на электромагниты пилотных распределителей сжатый воздух поступает в полости пневмоусилителей обеих секций, клапанные блоки перемещаются к нижним седлам и перекрывают их, воздух поступает на выход распределителя. Если одна из секций не включилась (не выключилась), то на выходе распределителя давление не будет превышать 0,02 МПа, т.к. сжатый воздух будет стравливаться другой секцией в атмосферу, при этом электрическая цепь сигнализатора разомкнется.
Для исключения возможности рассогласования управляющих сигналов, приводящей к несинхронности срабатывания секций пневмораспределителя У71-2*А, в конструкции распределителя предусмотрен электронный блок управления.
