Фильтр
Сначала популярные
Описание пневмораспределителей с ручным управлением
Пневмораспределители с ручным (мускульным) управлением — это устройства, которые позволяют вручную управлять направлением и потоком сжатого воздуха в пневматических системах. Они используются в случаях, когда необходимо обеспечить простое и надежное управление без использования электрических или пневматических сигналов. Такие распределители часто применяются в условиях, где требуется прямое управление оператором, например, в ремонтных работах, настройке оборудования или в аварийных ситуациях.
Основные особенности пневматических распределителей с ручным управлением
1. Простота конструкции:
- Отсутствие сложных электронных или пневматических компонентов.
- Управление осуществляется механически: кнопки, рычаги, ручки.
- Не зависят от электричества или внешних сигналов.
- Устойчивы к перегрузкам и неблагоприятным условиям эксплуатации.
4. Безопасность: подходят для использования в условиях, где электрическое управление нежелательно или невозможно (например, во взрывоопасных зонах).
Классификация пневмораспределителей
1. По количеству позиций (положений) и линий. Аналогично пневмораспределителям с иными способами управления, распределители с ручным управлением различаются по числу линий и положений. Так, 3/2 — обозначает два положения и три линии; 5/3 — подразумевает три положения и пять линий и т.д.2. По типу механизма управления:
- Кнопочные — управляются нажатием кнопки.
- Рычажные — управляются поворотом рычага.
- Ручные — управляются поворотом ручки.
Устройство и принцип работы пневмораспределителей

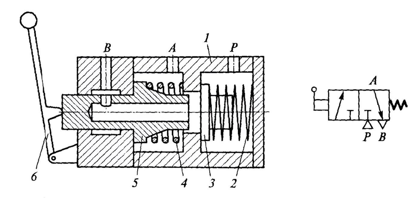
Особенностью пневматического распределителя типа 3/2 с ручным управлением является наличие клапанного затвора (5), который приводится в движение с помощью рукоятки (6). Когда рукоятка находится в левом положении, канал подачи сжатого воздуха (р) перекрывается пробкой (3), которая прижимается к перемычке корпуса (1) под действием пружины (2). В этом положении канал «А» соединяется с каналом «В». При перемещении рукоятки (6) в правое положение затвор (5) своим торцевым элементом упирается в пробку (3), блокируя канал выхлопа «В». При дальнейшем движении рукоятки вправо затвор (5) отжимает пробку (3), благодаря чему канал питания р соединяется с каналом «А». Возврат в исходное левое положение обеспечивается за счет действия пружин (4 и 2).

Рис. 1 Пневмораспределитель с ручным управлением В71(72)-2*М-01

Рис. 2 Пневмораспределитель с ручным управлением 4H
Компания «ТАУРУС» – ваш надежный партнер в обеспечении бесперебойного производства.
Наши специалисты подберут и помогут купить пневмораспределитель с ручным управлением под ваши задачи и вашу пневмосистему. Доверьтесь опыту «ТАУРУС» – мы сделаем ваше производство эффективным и надежным!