Фильтр
Сначала популярные
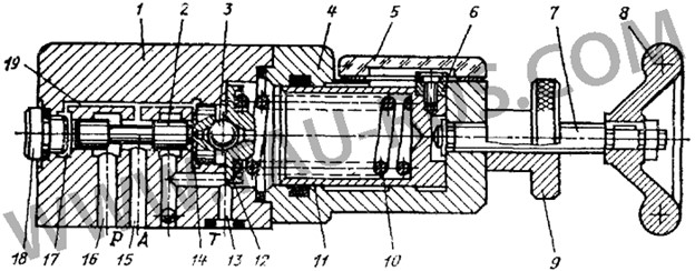
Описание гидроклапанов усилия зажима ЭПГ57-72, ПГ57-72
Клапаны усилия зажима ПГ57-72 (ТУ2-053-1569—81Е) предназначены для поддержания в зажимных устройствах станков постоянного давления, сниженного по сравнению с давлением в гидросистеме, а клапаны с электроуправлением ЭПГ57-72 дополнительно выдают электрический сигнал при достижении давления настройки или падении давления ниже настроенного.Клапан (см. рисунок ниже Конструкция клапана усилия зажима ПГ57-72) состоит из корпуса 1, золотника 2, крышки 4, пружины 10, втулки И, винта 7, втулки-седла 12, шарика 3, маховичка 8, контргайки Р, пробки 18, указателя 6, шкалы 5, уплотнений и крепежных деталей. Масло подводится к отверстию 16 (линия Р), отверстие 13 соединяется со сливной линией Т, а отверстие 15 (линия А) — с рабочей полостью цилиндра зажима. Поскольку отверстие 15 каналом 19 связано с торцовыми полостями 14 и 17, давление в линии А стремится сдвинуть золотник вправо, а пружина 10 — влево. При смещении золотника вправо его рабочая кромка дросселирует поток жидкости от линии Р к линии А, благодаря чему давление в зажимном цилиндре снижается по сравнению с давлением в напорной линии. В процессе работы золотник автоматически устанавливается в положение, при котором усилие, создаваемое давлением в линии А, уравновешивается пружиной.
После зажима детали поток масла в цилиндр прекращается, однако аппарат продолжает поддерживать заданное давление за счет дросселирования потока масла (~0,8 л/мин), поступающего из линии Р в линию Т через дросселирующие кромки золотника. В клапанах ЭПГ57-72 (см. рисунок ниже Конструкция клапана усилия зажима ЭПГ57-72) дополнительно установлены кронштейн 26, планка 25, микровыключатель 28, рычаг 21, ось 22, толкатель 29, пружина 31, упор 27, винт 24, кожух 20, прокладка 23 и штепсельный разъем 30; хвостовик золотника уплотнен манжетой 18. При возрастании давления в цилиндре зажима золотник 2 смещается вправо, и пружина 31 через толкатель 29 поворачивает рычаг 21, воздействующий на микровыключатель. При падении давления в цилиндре зажима происходит обратное срабатывание, и в систему управления выдается аварийный сигнал. Применение мощной пружины 10 в аппарате прямого действия обеспечивает высокую надежность его работы. Клапан может использоваться для тех же целей, что и регулятор давления типа ПГ57-6. Возможно использование аппарата также в режиме предохранительного или редукционного клапанов прямого действия с электроуправлением (в первом случае отверстие 16 перекрывается, а отверстие 15 соединяется с напорной линией).
Конструкция клапанов усилия зажима ЭПГ57-72 и ПГ57-72
Рис. 1 Конструкция клапана усилия зажима ЭПГ57-72

Рис. 2 Конструкция клапана усилия зажима ПГ57-72
Основные технические характеристики клапанов ПГ57-72 и ЭПГ57-72
|
Параметры |
Клапан ЭПГ57-72 |
Клапан ПГ57-72 |
| Условный проход, мм |
10 |
|
| Расход рабочей жидкости, л/мин |
0...20 |
|
| Давление в напорной линии / в цилиндре зажима, МПа |
1,2...6,3 / 0,6...5,5 |
|
|
Минимальная разница между давлениями в напорной линии и цилиндре зажима, МПа |
0,8 | |
| Максимальное изменение давления в цилиндре зажима в диапазоне расходов от наибольшего до наименьшего, МПа |
0,4 |
|
| Внутренние утечки клапана не более, см³/мин |
800 |
|
| Разность между давлением включения и выключения микровыключателя, МПа |
0,5 |
|
| Параметры микровыключателя МП2102У4 исполнения 4 (ТУ16-526 012—69): напряжение, В / номинальный ток, А / число включений в час |
380 / 2,5 / 1200 |
|
| Масса, кг |
4,0 |
3,5 |
Габаритные и присоединительные размеры клапана усилия зажима ПГ57-72 и ПГ57-72
Рис. 3 Габаритные и присоединительные размеры клапана усилия зажима ЭПГ57-72

Рис. 4 Габаритные и присоединительные размеры клапана усилия зажима ПГ57-72
Типовая схема применения клапана усилия зажима ПГ57-72
Типовая схема применения клапана ЭПГ57-72 показана на рисунке слева. Из линии Р масло подводится к клапану 1 и далее под давлением, определяемым его регулировкой (контролируется манометром 4), из линии А через обратный клапан 2 и распределитель 3 поступает в штоковую полость цилиндра 5 зажима, а из его поршневой полости вытесняется в линию Т. Клапан 2 запирает цилиндр при случайном падении давления в гидросистеме. При включении электромагнита распределителя 3 происходит разжим детали, причем вследствие разности рабочих площадей цилиндра усилие разжима превышает усилие зажима, что обеспечивает надежную работу механизма. Пример условного обозначения при заказе клапана усилия зажима с условным проходом 10 мм, с электромагнитным управлением, для районов с умеренным и холодным климатом, категория размещения 4: Гидроклапан усилия зажима ЭПГ57-72 УХЛ4
